瑞众人寿高管获批背后的转型困局:红利滞后与合规挑战
来源:名品导购网 阅读:24 时间:2025-10-28 08:33
文|萧晓编辑/陈小泉
瑞众人寿自2023年6月获批开业、承接华夏人寿核心资产以来,始终行走在“风险处置”与“常态经营”的平衡木上。
作为565亿注册资本的“国家队”险企,也未能与大环境抗衡。如今,红利实现率不及行业均值、历史遗留风险处置等难题,仍考验着这家新生险企的治理能力。
副总经理获批
10月24日,金融监管总局北京监管局公告,核准陈平瑞众人寿副总经理的任职资格。

图源:北京监管局
然而,关于陈平的公开履历信息较为有限,外界对其过往从业经历知之甚少。
截至目前,瑞众人寿领导班子形成了“一正四副”的高管架构,由总经理余德本为主导,与副总经理陈平、赵晓彤、郭新杰及李英建分工协作,辅以总精算师田今朝、合规负责人兼首席风险官赵瑞君等人。
值得注意的是,10月17日,深圳金融监管局正式核准赵国栋华夏久盈资产管理有限责任公司董事、董事长的任职资格。
此次落定,不仅标志着赵国栋完成了对1.2万亿资产管理规模核心平台的掌控,也意味着由赵立军主导的时代正式落幕。
时间回溯至2020年,彼时华夏人寿因风险隐患被依法接管。彼时,赵立军以托管组组长的身份临危受命。此后,风险处置路径明朗,由新设立的瑞众人寿全面承接原华夏人寿的资产、负债与人员。随着风险出清,赵立军的角色也完成了关键转型。2022年7月,获准出任华夏久盈资产董事长,并于次年7月完成从“救火队长”到瑞众人寿“掌门人”的身份转变。
然而,这场权力交接来得比预期更快。2024年6月,在瑞众人寿正式成立之际,赵立军到龄退休,与此前已离任的总裁赵松来共同退出管理舞台。这一人事变动,标志着公司历经数年攻坚,终于彻底走出风险处置期,正式迈入稳定运营与可持续发展的新常态。 文|萧晓编辑/陈小泉
瑞众人寿自2023年6月获批开业、承接华夏人寿核心资产以来,始终行走在“风险处置”与“常态经营”的平衡木上。
作为565亿注册资本的“国家队”险企,也未能与大环境抗衡。如今,红利实现率不及行业均值、历史遗留风险处置等难题,仍考验着这家新生险企的治理能力。
副总经理获批
10月24日,金融监管总局北京监管局公告,核准陈平瑞众人寿副总经理的任职资格。

图源:北京监管局
然而,关于陈平的公开履历信息较为有限,外界对其过往从业经历知之甚少。
截至目前,瑞众人寿领导班子形成了“一正四副”的高管架构,由总经理余德本为主导,与副总经理陈平、赵晓彤、郭新杰及李英建分工协作,辅以总精算师田今朝、合规负责人兼首席风险官赵瑞君等人。
值得注意的是,10月17日,深圳金融监管局正式核准赵国栋华夏久盈资产管理有限责任公司董事、董事长的任职资格。
此次落定,不仅标志着赵国栋完成了对1.2万亿资产管理规模核心平台的掌控,也意味着由赵立军主导的时代正式落幕。
时间回溯至2020年,彼时华夏人寿因风险隐患被依法接管。彼时,赵立军以托管组组长的身份临危受命。此后,风险处置路径明朗,由新设立的瑞众人寿全面承接原华夏人寿的资产、负债与人员。随着风险出清,赵立军的角色也完成了关键转型。2022年7月,获准出任华夏久盈资产董事长,并于次年7月完成从“救火队长”到瑞众人寿“掌门人”的身份转变。
然而,这场权力交接来得比预期更快。2024年6月,在瑞众人寿正式成立之际,赵立军到龄退休,与此前已离任的总裁赵松来共同退出管理舞台。这一人事变动,标志着公司历经数年攻坚,终于彻底走出风险处置期,正式迈入稳定运营与可持续发展的新常态。
尽管赵立军已从瑞众人寿淡出,其在华夏久盈资产的职务交接一度存在时间差。今年5月,该公司官网更新管理团队信息时,赵立军仍列于董事长之位。而随着赵国栋接棒华夏永赢,陈平等新一代高管陆续到位,瑞众人寿及其关联资管平台已完成新一轮的人事布局。
红利滞后
成立两年,瑞众人寿仍处于“静默期”,尚未披露任何年度信息报告和偿付能力报告。然而,透过一些零散的业绩,仍可拼凑出其初步的发展轮廓。
在业务规模方面,2024年瑞众人寿总保费规模达2368亿元,位居市场前列;截至2025年7月底,实现总保费1771.54亿元。《2024环境、社会及治理(ESG)暨社会责任报告》显示,截至2024年,瑞众人寿为超过4000万个人客户提供健康和养老保障服务。年度赔付案件42.2万件,理赔金额57.59亿元,为广大客户豁免保费9.82亿元。
然而,光鲜数据难掩“红利滞后”现象。根据瑞众人寿公布的2024年年度分红实现率,公司26款现金分红产品的年度平均分红实现率仅为50%,这意味着去年实际派发的红利仅为产品演示时预期水平的一半。比如“同乐两全保险(分红型)”“华智人生两全保险(分红型)”等,实现率集中在50%左右,个别产品如“财富宝两全保险(分红型,尊享版)”甚至低至25%。通过对比来看,这些产品最近五年的平均实现率,平均值达到了83%,部分产品如“同盛终身寿险(分红型)”的五年均值更保持在85%。
红利滞后的核心原因在于投资收益的周期性波动与监管政策的调整存在时滞。一方面,在低利率市场环境下,保险公司传统固收类资产收益普遍承压,直接影响其可用于分红的利差收益。
另一方面,2024年正式实施的监管规定,如《分红意见函》,对分红险账户的拟分红水平设置了明确上限,例如要求设立不足三年的账户分红水平不得超过人身险业过去3年平均财务收益率。鉴于此,瑞众人寿等公司重新调整了分红策略,导致此前基于较高投资收益率预期进行销售演示的产品,实际分红水平在新政下必然出现“滞后性”回落。
同时,业绩与收益的背离,亦折射出接盘后遗症的持续发酵。公司承接的华夏人寿曾因“明天系”关联交易导致巨额资金占用,2020年被接管时遗留大量高成本保单。尽管2024年保费规模亮眼,但存量业务利差损压力与新增业务盈利不足的双重挤压,已在红利实现率上显现端倪。
诉讼与罚单直扑
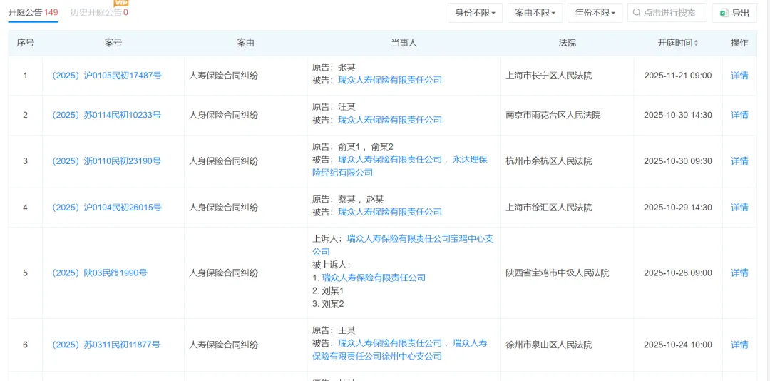
根据天眼查,截至目前,瑞众人寿作为被告的开庭案件已达149起,覆盖全国20余个省市,涵盖“人身保险合同纠纷”“人寿保险合同纠纷”等争议。

图源:天眼查
其中,“人身保险合同纠纷”案件超70起,成为最突出的法律风险点。此外,“人寿保险合同纠纷”“意外伤害保险合同纠纷”也频繁出现,集中反映出客户在长期保障型产品销售、理赔服务等环节存在较大争议。
值得注意的是,在多起诉讼中,瑞众人寿与原主体“华夏人寿”及其地方分支机构被列为共同被告。例如,在(2025)沪0106民初16718号等案件中,原告同时将瑞众人寿与华夏人寿上海分公司告上法庭。这一现象频繁出现,暴露出在风险处置与业务过渡过程中,尽管法律上已完成资产与保单的承接,但在实际操作层面,如保单归属认定、理赔责任归属、客户服务衔接等方面,仍可能存在职责不清、流程断档或沟通不畅等问题。
多则罚单也相继扑来。10月23日,国家金融监督管理总局青岛监管局官网公示的行政处罚决定书显示,瑞众人寿青岛分公司因“个人保险代理人培训档案不完整”被警告并罚款1万元。同时,时任瑞众人寿青岛分公司个人保险代理人高国芹因欺骗投保人被警告并罚款3000元。
据不完全统计,2025年以来,瑞众人寿至少14次因违法违规被处罚。这些处罚多发生在基层分支机构,暴露出公司在完成风险处置、实现平稳过渡后,仍需在合规文化建设和精细化管理上持续发力。
由此可见,瑞众人寿的转型之路远未结束。从风险处置的“救火战场”迈向常态化经营的“发展赛道”,公司正经历一场深刻而复杂的系统性重塑。而这场“后处置时代”的大考,或许才刚刚进入关键阶段。 加载全文
瑞众人寿自2023年6月获批开业、承接华夏人寿核心资产以来,始终行走在“风险处置”与“常态经营”的平衡木上。
作为565亿注册资本的“国家队”险企,也未能与大环境抗衡。如今,红利实现率不及行业均值、历史遗留风险处置等难题,仍考验着这家新生险企的治理能力。
副总经理获批
10月24日,金融监管总局北京监管局公告,核准陈平瑞众人寿副总经理的任职资格。

图源:北京监管局
然而,关于陈平的公开履历信息较为有限,外界对其过往从业经历知之甚少。
截至目前,瑞众人寿领导班子形成了“一正四副”的高管架构,由总经理余德本为主导,与副总经理陈平、赵晓彤、郭新杰及李英建分工协作,辅以总精算师田今朝、合规负责人兼首席风险官赵瑞君等人。
值得注意的是,10月17日,深圳金融监管局正式核准赵国栋华夏久盈资产管理有限责任公司董事、董事长的任职资格。
此次落定,不仅标志着赵国栋完成了对1.2万亿资产管理规模核心平台的掌控,也意味着由赵立军主导的时代正式落幕。
时间回溯至2020年,彼时华夏人寿因风险隐患被依法接管。彼时,赵立军以托管组组长的身份临危受命。此后,风险处置路径明朗,由新设立的瑞众人寿全面承接原华夏人寿的资产、负债与人员。随着风险出清,赵立军的角色也完成了关键转型。2022年7月,获准出任华夏久盈资产董事长,并于次年7月完成从“救火队长”到瑞众人寿“掌门人”的身份转变。
然而,这场权力交接来得比预期更快。2024年6月,在瑞众人寿正式成立之际,赵立军到龄退休,与此前已离任的总裁赵松来共同退出管理舞台。这一人事变动,标志着公司历经数年攻坚,终于彻底走出风险处置期,正式迈入稳定运营与可持续发展的新常态。 文|萧晓编辑/陈小泉
瑞众人寿自2023年6月获批开业、承接华夏人寿核心资产以来,始终行走在“风险处置”与“常态经营”的平衡木上。
作为565亿注册资本的“国家队”险企,也未能与大环境抗衡。如今,红利实现率不及行业均值、历史遗留风险处置等难题,仍考验着这家新生险企的治理能力。
副总经理获批
10月24日,金融监管总局北京监管局公告,核准陈平瑞众人寿副总经理的任职资格。

图源:北京监管局
然而,关于陈平的公开履历信息较为有限,外界对其过往从业经历知之甚少。
截至目前,瑞众人寿领导班子形成了“一正四副”的高管架构,由总经理余德本为主导,与副总经理陈平、赵晓彤、郭新杰及李英建分工协作,辅以总精算师田今朝、合规负责人兼首席风险官赵瑞君等人。
值得注意的是,10月17日,深圳金融监管局正式核准赵国栋华夏久盈资产管理有限责任公司董事、董事长的任职资格。
此次落定,不仅标志着赵国栋完成了对1.2万亿资产管理规模核心平台的掌控,也意味着由赵立军主导的时代正式落幕。
时间回溯至2020年,彼时华夏人寿因风险隐患被依法接管。彼时,赵立军以托管组组长的身份临危受命。此后,风险处置路径明朗,由新设立的瑞众人寿全面承接原华夏人寿的资产、负债与人员。随着风险出清,赵立军的角色也完成了关键转型。2022年7月,获准出任华夏久盈资产董事长,并于次年7月完成从“救火队长”到瑞众人寿“掌门人”的身份转变。
然而,这场权力交接来得比预期更快。2024年6月,在瑞众人寿正式成立之际,赵立军到龄退休,与此前已离任的总裁赵松来共同退出管理舞台。这一人事变动,标志着公司历经数年攻坚,终于彻底走出风险处置期,正式迈入稳定运营与可持续发展的新常态。
尽管赵立军已从瑞众人寿淡出,其在华夏久盈资产的职务交接一度存在时间差。今年5月,该公司官网更新管理团队信息时,赵立军仍列于董事长之位。而随着赵国栋接棒华夏永赢,陈平等新一代高管陆续到位,瑞众人寿及其关联资管平台已完成新一轮的人事布局。
红利滞后
成立两年,瑞众人寿仍处于“静默期”,尚未披露任何年度信息报告和偿付能力报告。然而,透过一些零散的业绩,仍可拼凑出其初步的发展轮廓。
在业务规模方面,2024年瑞众人寿总保费规模达2368亿元,位居市场前列;截至2025年7月底,实现总保费1771.54亿元。《2024环境、社会及治理(ESG)暨社会责任报告》显示,截至2024年,瑞众人寿为超过4000万个人客户提供健康和养老保障服务。年度赔付案件42.2万件,理赔金额57.59亿元,为广大客户豁免保费9.82亿元。
然而,光鲜数据难掩“红利滞后”现象。根据瑞众人寿公布的2024年年度分红实现率,公司26款现金分红产品的年度平均分红实现率仅为50%,这意味着去年实际派发的红利仅为产品演示时预期水平的一半。比如“同乐两全保险(分红型)”“华智人生两全保险(分红型)”等,实现率集中在50%左右,个别产品如“财富宝两全保险(分红型,尊享版)”甚至低至25%。通过对比来看,这些产品最近五年的平均实现率,平均值达到了83%,部分产品如“同盛终身寿险(分红型)”的五年均值更保持在85%。
红利滞后的核心原因在于投资收益的周期性波动与监管政策的调整存在时滞。一方面,在低利率市场环境下,保险公司传统固收类资产收益普遍承压,直接影响其可用于分红的利差收益。
另一方面,2024年正式实施的监管规定,如《分红意见函》,对分红险账户的拟分红水平设置了明确上限,例如要求设立不足三年的账户分红水平不得超过人身险业过去3年平均财务收益率。鉴于此,瑞众人寿等公司重新调整了分红策略,导致此前基于较高投资收益率预期进行销售演示的产品,实际分红水平在新政下必然出现“滞后性”回落。
同时,业绩与收益的背离,亦折射出接盘后遗症的持续发酵。公司承接的华夏人寿曾因“明天系”关联交易导致巨额资金占用,2020年被接管时遗留大量高成本保单。尽管2024年保费规模亮眼,但存量业务利差损压力与新增业务盈利不足的双重挤压,已在红利实现率上显现端倪。
诉讼与罚单直扑
根据天眼查,截至目前,瑞众人寿作为被告的开庭案件已达149起,覆盖全国20余个省市,涵盖“人身保险合同纠纷”“人寿保险合同纠纷”等争议。

图源:天眼查
其中,“人身保险合同纠纷”案件超70起,成为最突出的法律风险点。此外,“人寿保险合同纠纷”“意外伤害保险合同纠纷”也频繁出现,集中反映出客户在长期保障型产品销售、理赔服务等环节存在较大争议。
值得注意的是,在多起诉讼中,瑞众人寿与原主体“华夏人寿”及其地方分支机构被列为共同被告。例如,在(2025)沪0106民初16718号等案件中,原告同时将瑞众人寿与华夏人寿上海分公司告上法庭。这一现象频繁出现,暴露出在风险处置与业务过渡过程中,尽管法律上已完成资产与保单的承接,但在实际操作层面,如保单归属认定、理赔责任归属、客户服务衔接等方面,仍可能存在职责不清、流程断档或沟通不畅等问题。
多则罚单也相继扑来。10月23日,国家金融监督管理总局青岛监管局官网公示的行政处罚决定书显示,瑞众人寿青岛分公司因“个人保险代理人培训档案不完整”被警告并罚款1万元。同时,时任瑞众人寿青岛分公司个人保险代理人高国芹因欺骗投保人被警告并罚款3000元。
据不完全统计,2025年以来,瑞众人寿至少14次因违法违规被处罚。这些处罚多发生在基层分支机构,暴露出公司在完成风险处置、实现平稳过渡后,仍需在合规文化建设和精细化管理上持续发力。
由此可见,瑞众人寿的转型之路远未结束。从风险处置的“救火战场”迈向常态化经营的“发展赛道”,公司正经历一场深刻而复杂的系统性重塑。而这场“后处置时代”的大考,或许才刚刚进入关键阶段。 加载全文
