1美元等于多少人民币(1日元 = 人民币)
最近几个月,美元指数快速走强,包括人民币、欧元、日本、英镑、澳元、加元在内的多种货币均出现了不同程度的贬值。其中,欧元与美元的汇率几乎已达到1比1状态,极有可能出现“美元更贵”现象。

包括德国、法国在内的欧洲诸国,普通老百姓的月收入通常就在2000到3000欧元。意大利和西班牙等国甚至还不到2000欧元。与之相比,美国普通就业人员的月薪在3500美元到4000美元之间。
在欧元比美元贵很多的时间内,美国居民的收入优势并不大。但现在,美国普通老百姓的收入基本是上述国家的2倍,甚至更多了。在欧元大幅贬值,而能源价格又处在高位的背景下,欧盟被割韭菜了。

再看我的人民币。已经从年初的6.3元左右兑换1美元,大幅下滑至当前的6.7574元人民币才能兑换1美元的低位。国际市场上,石油、天然气、煤炭、粮食等大宗商品通常以美元为定价和结算货币。
虽然我国的人民币也获得了一定的话语权,但在国际市场上的影响力,仍与美元不可同日而语。这意味着,我国企业在进口同样数量的大宗商品时,需要比以往支付更多的成本,挤压我们的利润。

出口商品的情况,也基本如此!以前出口价值6.3元人民币的货物,就能得到1美元。但现在的外贸企业,挣1美元,需要付出更多的艰辛。因汇率变动,造成的贸易损失,不容低估啊!
对于这种现象,有网友认为:我国应该积极地推动人民币国际化进程,加强人民币的汇率稳定因素。特别是在美元走强的背景下,如果人民币汇率不给力,会损害人民币持有国的利益,进而拉低他们对人民币的信心。

南生认同这个观点!需要让海外各国、地区看到我国经济发展的潜力,需要让他们看到持有人民币“不仅能购买他们所需的各种商品和服务,还能获得人民币国际化进程扩张带来的潜在收益”。
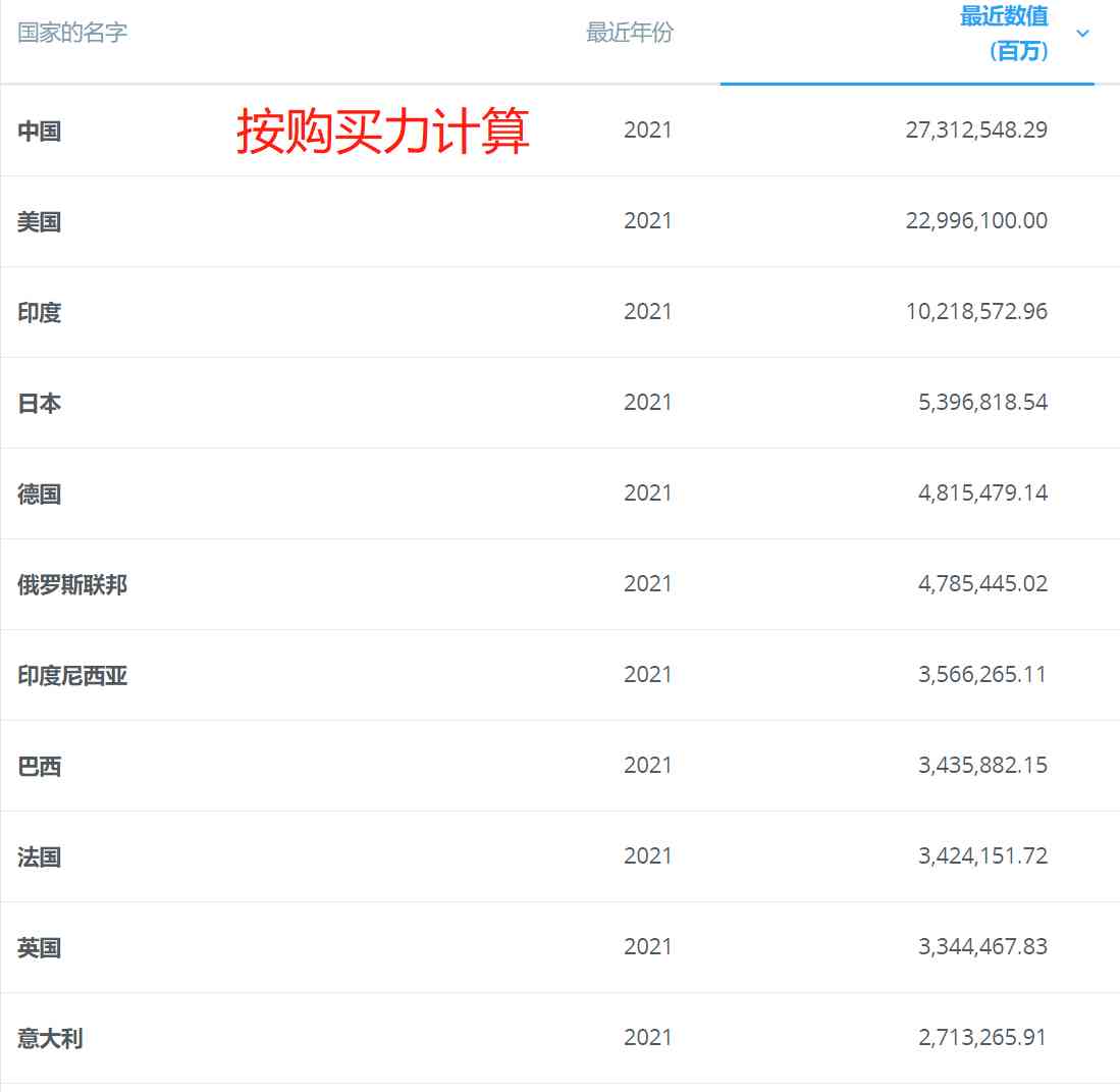
更加重要的是,让他们能感受到美元实质上被高估了,风险因素加大,而人民币还有较大的发展潜力。这一点,我们可以利用世界银行公开的数据作为证据。以2021年的GDP数据为例:

我国完成的名义GDP为1143670亿元人民币,同比实际上涨8.1%。如果以人民币与美元的平均汇率计算,在17.73万亿美元左右。美国2021年的GDP在23万亿美元左右,仍拥有较大优势。
但如果以购买力计算,仍以美元为参考标准。美国GDP保持不变,但我国经济规模将大幅提升至27.3万亿美元,超过美国,升至全球名。在购买力体系下,1美元仅相当于4.19元人民币。

当然了,有很多经济学家并不认为我国人民币被低估了。他们认为:无论在国际支付市场,还是外汇储备市场,美元都牢牢占据了主导地位。对于大多数国家来说,美元似乎都是香饽饽。
通常情况下,是美元被高估,不是其他货币被低估。或者说,是人为地将“美元吊到了高台”,显得其他货币变低了。只要美元落到合理位置,包括人民币在内的多种货币自然不会出现低估现象。本文由【南生】整理并撰写,无授权请勿转载、抄袭!
